Описание
Характеристики
Доставка
Сирена сигнальная СС-1
Предназначена для подачи мощных звуковых сигналов, отличающихся от производственных шумов. Преимущественно устанавливается в электротехнических шкафах, с оборудованием КИПиА, на промышленных станках и другом оборудовании.
Технические характеристики:
Потребляемая мощность, ВА, не более - 105-СС-1-021_111
Сила звука , дБл, не менее - 95
Род тока переменный, Гц - 50
Масса , кг., не более - 1,2
Класс защиты от поражения электрическим током - 1
Степень защиты - IP21
Климатическое исполнение - УХЛ-1
Режим работы оповещателя повторно-кратковременный.
Длительность непрерывной работы составляет не более 1 мин., пауза – 1 мин.
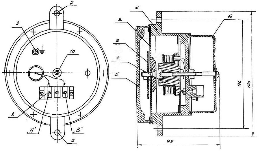
Сирена СС-1 представляет собой электромагнитный механизм, помещенный в алюминиевый корпус, защищающий его от загрязнения.
Основные части:
1. Корпус
2. Мембрана
3. Рассеиватель
4. Катушка с магнитопроводом
5. Крышка-рупор
6. Крышка
7. Монтажные отверстия
8. Клеммная колодка
9. Контакт заземления
10. Гайка – регулировка силы звука
А,В – контакты для подключения питания
Предназначена для подачи мощных звуковых сигналов, отличающихся от производственных шумов. Преимущественно устанавливается в электротехнических шкафах, с оборудованием КИПиА, на промышленных станках и другом оборудовании.
Технические характеристики:
Потребляемая мощность, ВА, не более - 105-СС-1-021_111
Сила звука , дБл, не менее - 95
Род тока переменный, Гц - 50
Масса , кг., не более - 1,2
Класс защиты от поражения электрическим током - 1
Степень защиты - IP21
Климатическое исполнение - УХЛ-1
Режим работы оповещателя повторно-кратковременный.
Длительность непрерывной работы составляет не более 1 мин., пауза – 1 мин.
Сирена СС-1 представляет собой электромагнитный механизм, помещенный в алюминиевый корпус, защищающий его от загрязнения.
Основные части:
1. Корпус
2. Мембрана
3. Рассеиватель
4. Катушка с магнитопроводом
5. Крышка-рупор
6. Крышка
7. Монтажные отверстия
8. Клеммная колодка
9. Контакт заземления
10. Гайка – регулировка силы звука
А,В – контакты для подключения питания
Высота (мм)
79
Артикул
EL07.16-004
Бренд
Россия
Самовывоз
Улица 2-я Геологическая, 32
Бесплатно
Доставка по Красноярску
Стоимость доставки оплаченного товара
1000 ₽
Доставка до транспортной компании
Доставка до терминала транспортной компании в Красноярске осуществляется бесплатно при условии выбора транспортной компании Продавцом
Бесплатно
Подборки товаров в категории Электроустановочные изделия
Адаптеры для силовых разъёмов силовые
Вилки переносные для силовых разъёмов
Вилки стационарные для силовых разъёмов
Вилки электрические штепсельные
Звонки, сирены, ревуны
Колодки, разветвители (тройники)
Розетка стационарные для силовых разъёмов
Розетки встраиваемые для силовых разъёмов
Розетки панельные
Розетки переносные для силовых разъёмов
Розетки разборные для плит
Сетевые фильтры
Силовые разъёмы
Удлинители на катушке
Удлинители электрические
Электроустановочные изделия
